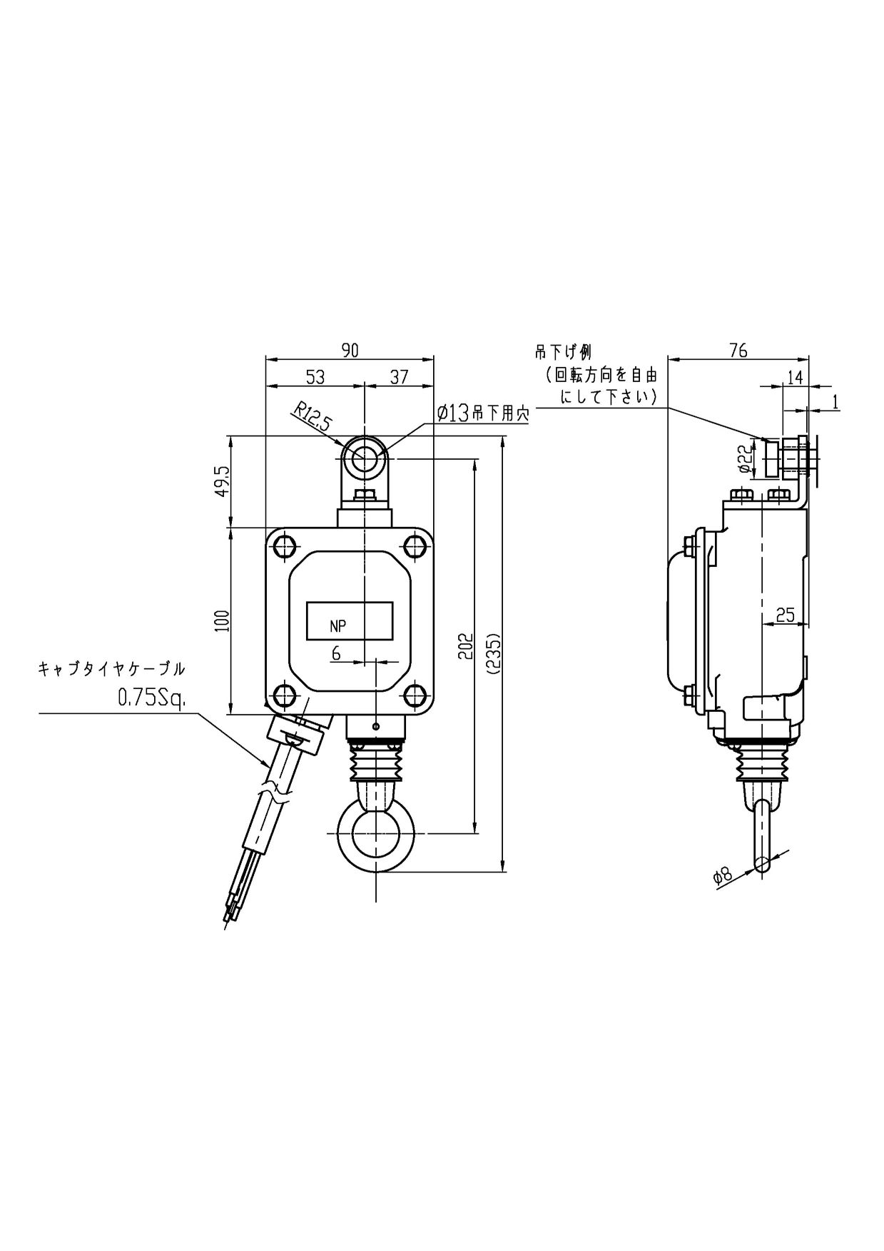
過巻リミットスイッチ(吊り下げ形)

過巻リミットスイッチは、ワイヤーロープに錘を吊り下げ、操作ロッドが引き下げられています。フックブロック等の上昇により錘が押し上げられると、操作ロッドがバネの力で復帰し、内部接点ユニットの開閉を行います。
このスイッチは、安全性が重視される産業現場で広く使用されており、クレーンやホイストなどの巻き上げ装置の非常上限用として使用されます。
ラインナップ
お客様の使用用途に応じて、耐塩仕様、防水強化形を準備しておりますので過酷な環境下でも安心してご使用いただけます。
LWZO-110G
(標準仕様)
LWZO-110GT4
(防水強化仕様、IP56)
LWZO-110GF
(耐塩仕様)
仕様
| 項目 | 内容 | |
|---|---|---|
| レバー部 | アクチュエータ | アイシャフト ※重錘にて引下げ時を基準 |
| 適正重錘重量 | 3~4kg(供給外) | |
| 動作ストローク | 12mm | |
| 動作方式 | 自動復帰 | |
| 接点部 | 使用定格 | AC110V/5A AC220V/3A |
| 接点数 | 2接点 | |
| 端子ねじ | M4 | |
| 本体部 | ケース | アルミ合金 |
| カバー | 鋼板 | |
| ケーブル | 2CT 0.75sq 4芯 90mmき出し (標準) | |
| 共通仕様 | 保護構造 | IP54相当 |
| 使用周囲温度 | -10℃~+80℃ (氷結が無いこと) | |
| 取付ねじ | M10 (供給外) | |
| 絶縁耐力 | AC1500V 1min. | |
| 絶縁抵抗 | 100MΩ以上 (DC500Vメガー) | |
| 寿命 | 機械的100万回 電気的50万回 | |
資料ダウンロード
CAD図と防爆検定証は登録制になります。
会員限定資料についてはログインしてからダウンロードしてください。
株式会社